Міхал Іміолек
ОСІРІС
Зовнішні навантаження літака
- пакет комп'ютерних програм -
Інструмент розрахунку OZYRYS - це можливо простий пакет незалежних програм для швидкого визначення вибраних зовнішніх навантажень літака, призначений як для професіоналів, так і для любителів. Пакет має модульну структуру, що означає, що кожна з програм (модулів), що входять до нього, може не тільки запускатися окремо, але й є повністю самостійним твором. Усі без винятку програми, що входять до складу пакету, працюють у режимі текстової консолі, тому не мають загальноприйнятої сьогодні графічної форми, що стосується як блоків введення даних, так і блоків представлення результатів (дані та результати також зберігаються у формі текстового файлу, створеного для цієї мети) . Оскільки такий спосіб представлення розрахунків у деяких випадках важко прочитати (наприклад, перебіг вибраних моментів або зсувних сил крил), до пакета додаються спеціальні аркуші результатів, які дозволяють компілювати отримані значення у формі графіки.
Наразі розрахунковий пакет OZYRYS складається з наступних програм (модулів):
- ПЕРША ПРОГРАМА: розподіл Cz як функція розмаху за Шренком;
- ПРОГРАМА ДРУГА: Звичайний згин консольної стулки;
- ТРЕТЯ ПРОГРАМА: Тангенціальне згинання крила;
- ЧЕТВЕРТА ПРОГРАМА: Центр поперечних сил одноконтурного кесона;
- П'ЯТА ПРОГРАМА: Центр поперечних сил двоконтурного кесона;
- ПРОГРАМА ШОСТА: Скручування крил;
- ПРОГРАМА СІМА: Умови поздовжньої рівноваги;
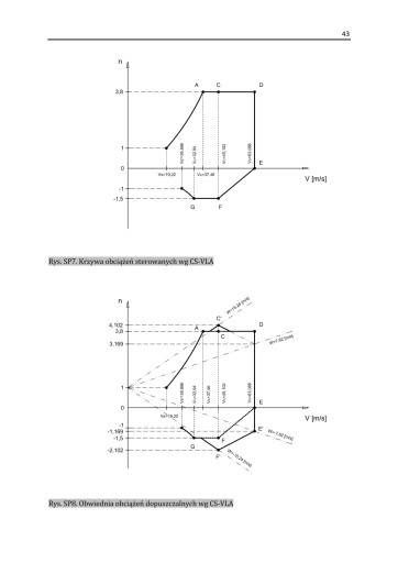
- ПРОГРАМА ВОСЬМА: Посадкові навантаження згідно CS-VLA.
УВАГА!
- Пакет планується розширити!
- Окремі програми можна придбати!
Невід’ємною частиною пакету OZYRYS є відповідний посібник користувача, у вигляді друкованої книги формату А4 (стор. 66), що містить не тільки численні ілюстрації, а й конкретні приклади розрахунків!
АПАРАТНІ ВИМОГИ: комп’ютер з Microsoft Windows 64 bit
Принцип роботи пакетних програм OZYRYS базується на методології бухгалтерського обліку, викладеній у книзі Міхала Іміолека «ПРОЕКТИ КОМПОЗИТНИХ ЛІТАКІВ». ВИБРАНІ ПИТАННЯ ДЕТАЛЬНО. Цей посібник призначений як доповнення до пакету, не тільки як джерело актуальної інформації, але й у зв’язку з тим, що приклади розрахунків, які входять до посібника, стосуються т.зв. ілюстративний літак, детально описаний у книзі.
Розрахунковий пакет OZYRYS не є сертифікованим інструментом і створений в результаті приватних зусиль автора. Незважаючи на це, пакет є повноцінним продуктом, оскільки, враховуючи доступну ціну, його можна використовувати, наприклад, при оптимізації конкретної конструкції планера, у необхідній послідовності ітерацій, що дозволяє вибрати відповідну геометрію відповідного вузлів або їх несучих частин, часто залежно від ходу навантажень, яким вони піддаються. Це означає, що якщо (наприклад, з формальних причин) необхідно використовувати «професійне» програмне забезпечення, його використання буде обмежено лише виконанням доказової функції, а отже, час (і, отже, витрати), необхідний для здійснення цього «професійна» робота на замовлення» буде якомога меншою.
БІЛЬШЕ ІНФОРМАЦІЇ:
КУЗНЯ АВІАЛОНАВІЧНОЇ ТА КОМПОЗИТНОЇ ТЕХНОЛОГІЇ "ДРАКО"
їх. Тіт Лівіуш Бураттіні
https://sites.google.com/view/kuznica-draco
Відгуки
-
Vitalii
16.02.2022
Все супер! Сервіс бомба!!!!
-
Світлана
26.04.2021
Дякую за швидку доставку та яскісний "Набір воріт для футболу". Думаю, що іменинник буде у захваті!
-
Марина
05.03.2021
Получили мятные роликовые коньки. Дочка просто в восторге. Качество очень хорошее. Всем остались довольны. Обслуживание на высшем уровне. Не смотря на то что необходимо подождать, товар того стоит. Сп...
-
Оксана
08.07.2020
Доброго дня!
Вже отримала валізу!
Все подобається! Дуже Вам дякую! :)
Приємно було з Вами співпрацювати!
-
Юрий
17.06.2020
Заказывал кроссовки хорошее качество товара и цены самые низкие среди магазинов
-
Алина
15.06.2020
Очень быстро и оперативно, а самое главное товар высокого качества. Спасибо!
-
Galyna
05.06.2020
Зовсім нещодавно почала користуватись цим сервісом, поки все влаштовує, особливо подобається швидкість доставки
-
Ольга
02.06.2020
Замовляла іграшки для дітей, прийшли дуже хорошої якості, діти в захваті. Дуже дякую)
Усі відгуки